Чертежи складного iPhone появились в Сети

Мейирим Смайыл
Мейирим Смайыл руководитель спецпроектов Tengrinews.kz

ПОДЕЛИТЬСЯ

Чертежи складного iPhone появились в Сети Иллюстративное фото pixabay.com

В Сети появились чертежи нового iPhone от компании Apple, которая обновила свой старый патент от 2011 года на устройство с гибким экраном, передает Tengrinews.kz со ссылкой на портал Astera


В Сети появились чертежи нового iPhone от компании Apple, которая обновила свой старый патент от 2011 года на устройство с гибким экраном, передает Tengrinews.kz со ссылкой на портал Astera

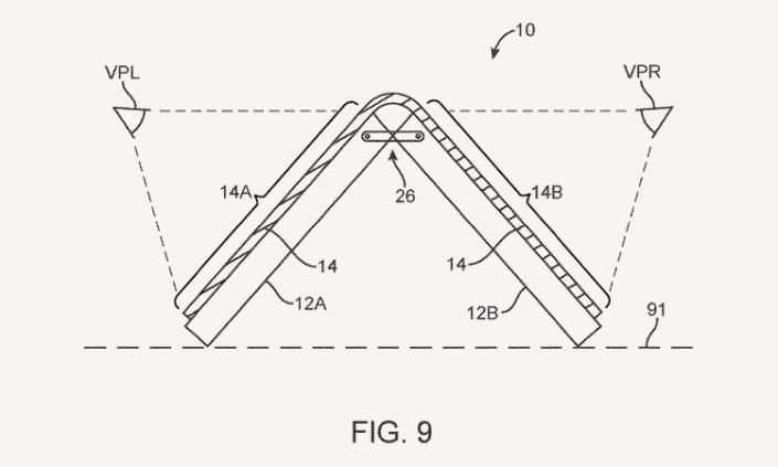
Компания Apple обновила старый патент от 2011 года, который уже обновляли в 2016 году. Сейчас вышло дополнение к нему.

В патенте компания показывает устройство, которое складывается вдвое, причем в нем установлен гибкий экран. В раскрытом состоянии гаджет по размерам сопоставим с планшетом.

В сложенном виде устройство не больше, чем смартфон. Раскладывать устройство можно под разными углами, причем его можно раскрыть как внутрь, так и наружу. К примеру, его можно разместить на столе, и каждый будет в отдельности видеть свою картинку.

Особое внимание Apple уделила различным способам установки шарниров и корпуса вокруг гибкого OLED-дисплея в местах изгибов. 

Tengrinews
Читайте также

Курс валют

 481.88   556.79   5.72 

 

Погода

Алматы
А
Алматы 5
Астана -4
Актау 7
Актобе 8
Атырау 14
Б
Балхаш -1
Ж
Жезказган -2
К
Караганда -1
Кокшетау 2
Костанай 8
Кызылорда -3
П
Павлодар -1
Петропавловск -4
С
Семей 0
Т
Талдыкорган 4
Тараз 13
Туркестан 3
У
Уральск -5
Усть-Каменогорск 13
Ш
Шымкент 0

 

Редакция Реклама
Социальные сети